汪峰对毕夏表白发生过关系吗汪峰爱女学员是真的吗爱了多少女人
2025-08-07 05:53:03
知名女星被曝偷税4500万元,四部热播剧上映可能受影响
谁也没有想到,持续了两天的宋祖儿热搜事件,在8月底给了粉丝一次大瓜,大家都没有想到,她会被实名举报偷税漏税。

由于涉案金额不小,宋祖儿和工作室没有回应,反而是北京市朝阳站出来普法,让人嗅到了一丝不同寻常的味道。
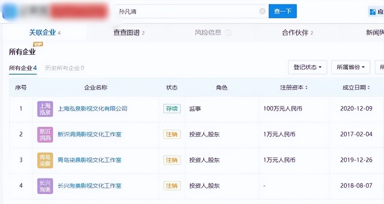
深挖之下,宋祖儿原名孙凡清,关联的4家公司,已经注销了三家,仅剩上海一家文化有限公司存续,由她担任监事职务。


偷税漏税并不是第一次出现,众多明星因为这个问题失去了前途,以宋祖儿的赚钱能力,没必要去“重蹈覆辙”才对。
事情一开始,是网友发现宋祖儿在国家税务局被举报的信息,随后将这个信息发布到网上,一下子引来了众多粉丝关注。

按照以往的经验,举报明星偷税漏税是要有证据,否则对明星造成负面影响,是要承担法律责任的,因此很少会出现诬告的情节。
在举报信息上,宋祖儿的偷税漏税行为都被罗列出来,可见举报者是她极其信任的人,不排除因为其他情况而举报宋祖儿。

根据相关信息显示,宋祖儿是通过拆分合同和私人账户收款方式来偷税,牵扯到个人所得税和营业税、附加税,除此之外还注销了三家个体工商户,这都是属于逃税的范畴。
另外,宋祖儿还以工作室的名义承接业务,将“劳务报酬所得”转变成了“经营所得”,期间更是将三家公司注销,为了就是完成偷税漏税的进展。

这种操作看起来很熟悉,与多位翻车的大牌明星类似,以工作室的性质来逃脱税务,情况属实的话,将会面临封杀的局面。
这里我想到了范冰冰和邓伦,他们在证实了偷税漏税之后,至今已经没了踪迹。

按照4500万的金额计算,宋祖儿的实际收益不低于一个小目标,邓伦的三百万让他彻底没了后续,不知道事件确认之后,宋祖儿是否会消失在屏幕之前?

实际上,关于明星的偷税漏税,大家还是关心明星的收入,动辄日薪208万,年薪上亿的明星,他们是从什么时候开始如此优秀的?
有网友指出,明星光鲜亮丽,享受一般人无法接触的一切,到头来还要想办法偷税漏税,以往的教训还不够清楚?

有网友给出肯定的答案,认为只要是明星被举报偷税,报道出来百分之百是实锤,目前为止没有一个被爆的明星是例外的。
回顾明星偷税的问题,税务局曾经针对这个问题给出调查,通知明星上缴补税,只要明星不被爆出来,多交点罚款也能解决。

在事件持续发酵时,宋祖儿吧官博曾经给出一个说法。“请大家放心,这是造谣,祖儿遵纪守法,后续措施正在商讨,已经传达了,等等…”
另一位明星演员杨幂刚刚公开说出,反对偷税漏税和天价报酬,没想到那么快就有宋祖儿被查,属实是难以预料。

不可否认,明星收入高的同时,他们要承担的税率也很高,可以达到45%左右,占据近乎一半的收入,因此有不少明星研究减少税务的方式,尽可能地留住收入。
而宋祖儿和工作室并没有回应,众多卫视已经删除了她的信息,包括北京卫视、湖南卫视、浙江卫视、江苏卫视、安徽卫视均已删除宋祖儿相关微博,似乎已经在走流程了。

一旦税务局核查确定,宋祖儿确实存在偷税漏税,那么不止是她的前途堪忧,还有4部热度不低的剧组受到影响要推迟上映,其中包括正午阳光的《艰难的制造》、刘宇宁合作的《折腰》、任嘉伦合作的《无忧渡》以及跟侯明昊的《阅读课》。

这几部剧都是关注度极高的新剧,合作的剧组和男主角都有粉丝群体关注,这一次宋祖儿被爆偷税漏税,一旦证实确有其事,那么需要承担不小的违约金。
大家对宋祖儿的印象还停留在小时候,哪吒的可爱形象,殊不知她早就身价不菲,成为众多年轻女性的一级明星,收入高达上亿元。

她扮演的哪吒调皮捣蛋,颜值高得惊人,至今仍然是荧幕上的经典角色,以童星出道的宋祖儿,一直不缺乏资源,还在2007年上过央视春晚表演节目,之后更是数次登台春晚演出,成为家喻户晓的大明星。

回顾宋祖儿的明星之路,她并没有任何的阻碍,顺风顺水地成为顶流明星,大家对她的印象也很好,一直劝说她遵纪守法,不要去整容。
不得不说,宋祖儿的五官立体精致,是从小美到大的女孩,受尽了宠爱,只是再税务方面没有弄清楚,让人感到有些惋惜。

目前税务局已经在核实相关信息,宋祖儿不回应是正确的,之后调查清楚,会有一段补税的宽限期,争取补税和缴纳罚款,冷静一会。
结语
整个娱乐圈对于偷税漏税这个问题,一直是小心翼翼的,在个人收入超过大部分人时,他(她)所需要承担的社会责任更重,依法纳税是个人的法律意识,否则很容易因小失大。
不得不提到一个人,王宝强。
在他最困难的时候,他还是借钱缴纳了税务,两个最亲密的人都找不出他的黑料,可见王宝强的成功是很难复制的。
在此还是要提醒,明星的收入已经超过大部分人,就安心纳税申报,别整一些偷税纳税的违法情况,否则粉丝要担心一个问题,“到底哪个明星值得关注?”
2025-08-07 05:53:03
2025-08-07 05:50:49
2025-08-07 05:48:34
2025-08-07 05:46:20
2025-08-07 05:44:06
2025-08-07 05:41:52
2025-08-07 05:39:38
2025-08-07 05:37:23
2025-08-06 07:11:16
2025-08-06 07:09:01
2025-08-06 07:06:47
2025-08-06 07:04:32
2025-08-06 07:02:17
2025-08-06 07:00:02
2025-08-06 06:57:47
2025-08-06 06:55:32
2025-08-06 06:53:17
2025-08-06 06:51:02
2025-08-06 03:11:57
2025-08-06 03:09:43